2021年6月19日星期六

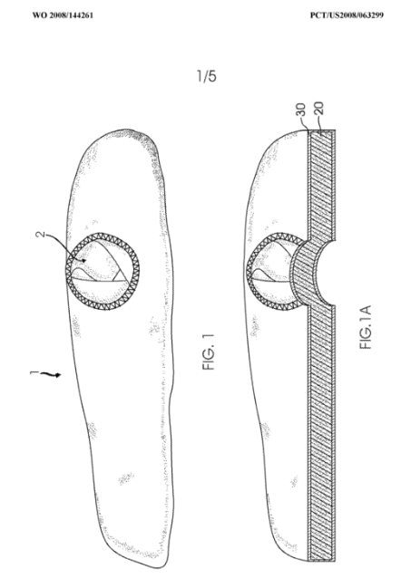
没想到!简单的汽车防漏置物垫也有发明专利!

很多朋友都知道汽车座椅和中控台之间有一个小间隙,驾驶员口袋中的手机或其他物品可能会滑落进这个狭小的缝隙中,驾驶过程中如果驾驶员试图去捡起掉落的物品,那么很容易发生交通事故!

Drop Stop就是针对这一问题提出的解决方案!

产品结构和使用方法都极其简单,相较其他常规的汽车置物垫,这款产品唯一的特殊之处在于它有一个孔状设计,使安全带能够穿过,这也是它专利的核心技术方案。

WO2008144261-间隙闭合装置

[0001]本发明涉及一种用于堵塞间隙的可适配装置。在本发明的优选实施例中,所述装置用于汽车设置中。该装置旨在防止物体进入通常存在于汽车前排座椅和分隔控制台之间的间隙中。

[0002]驾驶员通常在驾驶时执行多项任务。

司机可以在驾驶机动车的同时打电话、使用移动设备、操作GPS设备、饮食和/或使用化妆品。虽然这种做法存在明显的安全隐患,但这种做法经常发生,而且不太可能停止,因为越来越多的人被迫在车上花费越来越多的时间。

[0003]同样典型的是,在操作车辆时执行这些无关的任务时,与这些任务相关的物体会从驾驶员的把手、口袋、钱包等处脱落,并落入前排座椅和分隔控制台之间的缝隙或缝隙中。这种间隙会导致位于前排座椅下方或侧面的难以触及的区域。通常情况下,司机在开车时会试图取回这些掉落的物品,对自己和周围的人构成更大的安全威胁。本发明通过封闭任何此类开口或裂缝将这种安全危害降至最低,从而使物品无法进入所述间隙,并保持在容易触及的位置。

[0004]当用户的汽车静止不动时,本发明也有利于使用者,因为当车辆停放时,个人将钥匙或其他有价值的物品扔进所述间隙中并不少见。从这些地方取回贵重物品会让人恼火,尤其是当一个人有预约或是匆忙的时候。大多数汽车的这种封闭空间是收缩的,位于前排座椅下面或旁边的前排座椅部件通常涂有润滑油和润滑脂。因此,在试图取回前排座椅下方或侧面的物体时,接触此类部件通常会弄脏个人的手、手臂或衣服。



总结来说,带有孔洞设计用来穿过安全带的汽车防漏置物垫都会侵权这项专利!




- End -




原文转载:http://www.shaoqun.com/a/814633.html

跨境电商:https://www.ikjzd.com/

口述:与准嫂子销魂一夜她怀上我的孩子:http://lady.shaoqun.com/a/38671.html

学长让我夹震动上课 调教塞进去不准掉出来:http://www.30bags.com/m/a/249787.html

海拍客:https://www.ikjzd.com/w/1742

三个男人一起弄我 一个吃奶两个㖭下面:http://lady.shaoqun.com/a/247612.html


很多朋友都知道汽车座椅和中控台之间有一个小间隙,驾驶员口袋中的手机或其他物品可能会滑落进这个狭小的缝隙中,驾驶过程中如果驾驶员试图去捡起掉落的物品,那么很容易发生交通事故!DropStop就是针对这一问题提出的解决方案!产品结构和使用方法都极其简单,相较其他常规的汽车置物垫,这款产品唯一的特殊之处在于它有一个孔状设计,使安全带能够穿过,这也是它专利的核心技术方案。WO2008144261-间隙闭合
波兰电商市场排名火热出炉!Allegro排第一,速卖通进入前五:https://www.ikjzd.com/articles/132209
点赞!亚马逊打假出狠招,对11位卖家直接提起诉讼!:https://www.ikjzd.com/articles/132202
东南亚电商Shopee 双十一大促开幕:国货拓宽跨境赛道:https://www.ikjzd.com/articles/132200
老婆搭顺风车竟搭上男人:http://lady.shaoqun.com/a/114393.html
情人那个又粗又硬 最舒服的一次出轨经历:http://lady.shaoqun.com/m/a/247301.html
布拉格特色美食大盘点:http://www.30bags.com/a/414888.html
livingsocial:https://www.ikjzd.com/w/714.html
贱小三把D罩杯内衣留我男友家:http://lady.shaoqun.com/a/271141.html
解开扣子两只大白兔 一口咬住胸前两颗葡萄:http://lady.shaoqun.com/a/247394.html
故事:43岁初婚大叔遇到37岁二婚撒娇少女|中年迷失:http://www.30bags.com/a/441881.html
妻子做出恶意的举动,花心的丈夫跪地求饶(纪实故事):http://www.30bags.com/a/441882.html
历史故事:明朝一个商人天生风流。看到妻子缝袜子后,浪子回头了:http://www.30bags.com/a/442876.html

没有评论:

发表评论

注意:只有此博客的成员才能发布评论。